Зазор между торцом стержня клапана и носиком коромысла следует регулировать на холодном двигателе не ранее чем через 30 мин после его остановки, при этом подача топлива должна быть выключена.
Тепловые зазоры регулируют одновременно в двух цилиндрах, следующих по порядку работы один за другим, во время тактов сжатия или рабочего хода) в этих цилиндрах. Клапаны регулируемых цилиндров в этот момент должны быть закрыты.
Для регулировки зазоров коленчатый вал необходимо устанавливать последовательно в определенные положения: I, II, III, IV.
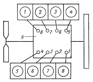
Схема нумерации цилиндров двигателя приведена.

Рис. 159. Схема нумерации:
1-8 — номера секций насоса высокого болтов крепления головки давления; 9 — топливный насос высокого давления; цифры в кружках номера цилиндров.

Рис. 160. Порядок затяжки болтов крепления головки цилиндра КамАЗ
Последовательность операций при регулировке зазоров следующая:
- снять крышки головок цилиндров;
- проверить затяжку болтов крепления головок цилиндров динамометрическим ключом в последовательности;
- оттянуть фиксатор смонтированный на картере маховика, повернуть его на 90° и установить в нижнее положение;
- снять крышку люка в нижней части картера сцепления;
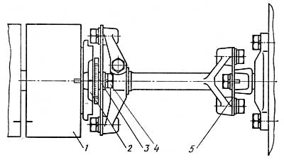
- поворачивая коленчатый вал по ходу вращения, установить его в такое положение, при котором фиксатор под действием пружины войдет в зацепление с маховиком. При этом риски на торце корпуса муфты и фланце ведомой полумуфты привода топливного насоса высокого давления должны находиться в верхнем положении. Это положение коленчатого вала соответствует началу подачи топлива в первом цилиндре.

Рис. 161. Верхнее положение фиксатора маховика (при эксплуатации).

Рис. 162. Фиксатор маховика в зацеплении с маховиком.
Если риски находятся внизу, необходимо вывести фиксатор из зацепления с маховиком и провернуть коленчатый вал на один оборот. При этом фиксатор должен вновь войти в зацепление с маховиком.
- Проворачивать коленчатый вал нужно ломиком, вставляя его в отверстия, расположенные по периферии маховика. Поворот маховика на угол, характеризующий хорду (промежуток между двумя соседними отверстиями), соответствует повороту коленчатого вала на 30°;
- оттянуть фиксатор, повернуть его на 90° и установить в верхнее положение;
- повернуть коленчатый вал на угол 60° по ходу вращения, установив его тем самым в положение I. В этом положении клапаны регулируемых цилиндров (первого и пятого) закрыты (штанги указанных цилиндров должны легко проворачиваться от руки);
- проверить динамометрическим ключом момент затяжки гаек крепления стоек коромысел регулируемых цилиндров. Он должен быть в пределах 4,2—5,4 кгс-м;
- проверить щупом зазор между носками коромысел и торцами клапанов регулируемых цилиндров. Если они не укладываются в указанные выше пределы, их надо отрегулировать, для чего необходимо ослабить гайку регулировочного винта, вставить в зазор щуп нужной толщины и, вращая винт отверткой, установить требуемый зазор.
- Придерживая винт отверткой, затянуть гайку и проверить величину зазора. Щупы толщиной 0,25 мм для впускного клапана и 0,35 мм для выпускного клапана должны входить свободно, а толщиной 0,30 мм для впускного и 0,40 мм для выпускного — с усилием. Момент затяжки регулировочного винта должен быть равен 4,2— 5,4 кгс-м;
- дальнейшую регулировку зазоров в клапанном механизме следует производить попарно в цилиндрах 4-м и 2-м (II положение), 6-м и 3-м (III положение), 7-м и 8-м (IV положение), предварительно повернув коленчатый вал каждый раз на 180°;
- пустить двигатель и прослушать его работу. При правильно отрегулированных зазорах стуков в клапанном механизме быть не должно;
- установить крышку люка картера сцепления;
- установить крышки головок цилиндров.

Рис. 163. Схема положении меток, соответствующего началу подачи топлива в первом цилиндре:
1 — муфта опережения впрыска топлива; 2 — ведомая полумуфта привода; 3 — фланец ведомой полумуфты; 4 — болт; 5 — фланец ведущей полумуфты.
