Крутящий момент к главным передачам ведущих мостов передается через межосевой дифференциал, установленный в среднем мосту. Картеры мостов сварены из стальных штампованных балок, к которым приварены крышки картеров, фланцы для крепления главных передач и суппортов тормозных механизмов, цапфы ступиц колес, кронштейны для крепления реактивных штанг и опоры рессор.
На картерах мостов автомобилей-самосвалов КамАЗ-5511 приварены установочные пластины 12 для крепления опоры рессор.
Главная передача мостов — двухступенчатая. Первая ступень состоит из пары конических шестерен со спиральными зубьями, вторая — из пары цилиндрических шестерен с косыми зубьями. Для обеспечения оптимальных тягово-динамических характеристик в зависимости от назначения автомобиля конструкцией мостов предусматриваются четыре варианта передаточных чисел главной передачи: 7,22; 6,53; 5,94; 5,43.
Передаточные числа 7,22 и 6,53 характерны для автомобилей, работающих в составе автопоезда, и седельных тягачей, а передаточные числа 5,94 и 5,43 — для одиночных автомобилей. Изменение передаточного числа главной передачи достигается установкой различных пар цилиндрических шестерен (табл. 2).
Ведущие конические шестерни среднего и заднего мостов отличаются хвостовиками. Ведомые конические шестерни одинаковы.
Ведущая коническая шестерня 37 главной передачи заднего моста установлена на шлицах ведущего вала 38. Ведомая коническая шестерня 3 расположена на валу ведущей цилиндрической шестерни 5 и передает ему вращение через прямоугольную шпонку 4. Ведущая цилиндрическая шестерня 5 выполнена как одно целое с валом. К зубчатому венцу ведомой цилиндрической шестерни 23 болтами прикреплены чашки 17 колесного дифференциала.

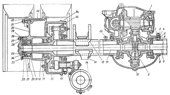
Рис. 67. Задний (средний) мост:
1 – картер главной передачи; 2 и 27 – гайки; 3 и 29 – разжимные втулки; 4 – шпилька крепления картера главной передачи; 5 – прокладка; 6 – фланец; 7 – правая полуось; 8 – картер заднего моста; 9 – пробка; 10 – магнитная пробка; 11 – левая полуось; 12 – опора рессоры; 13 – кронштейн реактивной штанги; 14 – тормозная камера с пружинным энергоаккумулятором; 15 – суппорт с тормозным механизмом; 16 – сальник ступицы; 17 – кольцо сальника; 18 и 19 – конические роликоподшипники; 20 – гайка крепления подшипников; 21 – набивка сальника; 22 – корпус сальника; 23 – прокладка полуоси; 24 – замковая шайба; 25 – контргайка; 26 – шпилька крепления полуоси; 28 – пружинная шайба; 30 – ступица; 31 – гайка крепления колеса; 32 – прижим; 33 – проставочное кольцо; 34 – тормозной барабан; 35 – щиток; 36 – сапун.

рис. 68. Задний (средний) мост автомобиля-самосвала КамАЗ-5511:
1 — картер главной передачи; 2 и 26 — гайки; 3 и 28 — разжимные втулки; 4 — шпилька крепления картера главной передачи; 5 — прокладка; 6 — фланец; 7 — правая полуось; 8 — картер заднего моста; 9 — пробка; 10 — магнитная пробка;11 — левая полуось; 12 — установочная пластина; 13 и 15 — сальник ступицы, 20 — набивка сальников; 14 — суппорт с тормозным механизмом в сборе; 15 — сальник ступицы; 16 — кольцо сальника; 17 и 18 — конические роликоподшипники; 19 — гайка корпус сальника; 22 — прокладка полуоси; 23 — замковая шайба; 24 — крепления подшипников; контргайка; 25 — шпилька прижим; 32 — поставочное кольцо; 33 — тормозной барабан; 34 — щиток; 35 — сапун.
Таблица 2.
|
Заводской номер комплекта цилиндрических шестерен главных передач мостов |
Число зубьев шестерен |
Общее передаточное число мостов. |
|
5320 – 2402110 – 20 5320 – 2402120 — 20 |
12 50 |
26/15*50/12 = 7,22 |
|
5320 – 2402110 – 10 5320 – 2402120 — 10 |
13 49 |
26/15*49/13 = 6,53 |
|
5320 – 2402110 – 30 5320 – 2402120 — 30 |
14 48 |
26/15*48/14 = 5,94 |
|
5320 – 2402110 – 40 5320 – 2402120 — 40 |
15 47 |
26/15*47/15 = 5,43 |

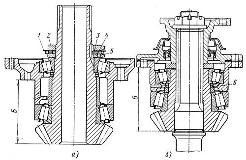
Рис. 69. Узлы ведущих конических шестерен главных передач мостов:
а – среднего; б – заднего; 1 – замковая шайба; 2 – гайка; 3 – шайба подшипника; 4 – гайка подшипника; 5 – стопорный штифт; 6 – регулировочная шайба.

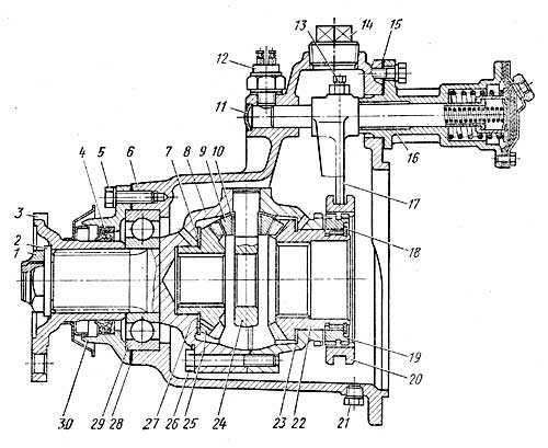
Рис. 71. Главная передача среднего моста:
1 — ведомая коническая шестерня; 2 — картер главной передачи; 3 — ведущая цилиндрическая шестерня; 4 и 44 — регулировочные шайбы; 5 и 29 — регулировочные прокладки; 6 — стакан подшипников; 7 и 33 — прокладки крышки; 8 — крышка стакана; 9 — опорная шайба; 10 — гайка подшипника; 11, 12 и 14 — конические роликоподшипники; 13 — регулировочная гайка подшипника дифференциала; 15 — опорная шайба сателлита; 16 — сателлит; 17 — бронзовая втулка сателлита; 18 — полуосевая шестерня; 19 — опорная шайба полуосевой шестерни; 20 — крестовина; 21 — чашка дифференциала; 22 — болт крепления чашек дифференциала; 23 — ведомая цилиндрическая шестерня; 24 — цилиндрический роликоподшипник; 25 и 26 — заливные пробки; 27 — картер межосевого дифферинциала; 28 — стакан переднего конического роликоподшипника; 30 ведущая коническая шестерня; 31 — задний вал; 32 — шарикоподшипник; 34 — крышка подшипника; 35 — сальник; 36 — маслоотражатель; 37 — фланец; 38 — гайка крепления фланца; 39 — шайба; 40 — крышка подшипника дифференциала; 41 — стопор гайки; 42 — задний конический подшипник; 43 — распорная втулка; 45 — передний конический роликоподшипник.

Рис. 72. Межосевой дифференциал:
1 — гайка крепления фланца; 2 — шайба; 3 — фланец; 4 — сальник; 5 — болт; 6 — картер межосевого дифференциала; 7 — опорная шайба полуосевой шестерни; 8 — передняя чашка межосевого дифференциала; 9 — сателлит с бронзовой втулкой; 10 — опорная шайба сателлита; 11 — заглушка; 12 — выключатель; 13 — установочный винт; 14 — заливная пробка; 15 — прокладка; 16 — механизм блокировки дифференциала; 17 — вилка муфты; 18 — стопорное кольцо; 19 — внутренняя зубчатая муфта; 20 — муфта блокировки; 21 — сливная пробка; 22 — коническая шестерня привода заднего моста: 23 — задняя чашка дифференциала; 24 — крестовина; 25 — коническая шестерня привода заднего моста; 26 — самостопорящийся болт крепления чашек дифференциала; 27 — опорная шайба конической шестерни; 28 — прокладка крышки; 29 — шарикоподшипник; 30 — крышка подшипника.
Для равномерного распределения крутящего момента между ведущими мостами в трансмиссию автомобиля введен симметричный межосевой дифференциал.
Межосевой дифференциал с механизмом блокировки собран в отдельном картере 27, прикрепленном болтами к фланцу стакана 28 подшипников ведущей конической шестерни, и состоит из передней 8 и задней 23 чашек, внутри которых установлены конические шестерни 25 и 22 приводов соответственно заднего и среднего мостов. Чашки обрабатывают совместно, поэтому при сборке их нужно ставить так, чтобы совпадали места клеймения комплекта, выбитые на торце отверстия под шип крестовины. Конические шестерни дифференциала находятся в зацеплении с четырьмя сателлитами 9, сидящими на шипах крестовины 24. В чашках и конических шестернях имеются отверстия для подвода смазки к рабочим поверхностям шестерен. Под торцы конических шестерен и сателлитов подложены опорные шайбы 7 и 10. Чашки дифференциала соединены между собой болтами.
Задний вал 31 и хвостовик ведущей конической шестерни 30 соединены с коническими шестернями межосевого дифференциала шлицевыми соединениями. Задний вал 31 свободно установлен внутри хвостовика ведущей конической шестерни 30 и вращается в двух шарикоподшипниках.
Наружная обойма переднего подшипника 29 запрессована в выточку картера межосевого дифференциала, а во внутренней обойме установлен хвостовик передней чашки 8 дифференциала, внутри которой размещены коническая шестерня 25 и передний торец заднего вала. Задний шарикоподшипник 32 расположен в выточке картера главной передачи среднего моста.
На шлицах хвостовика передней чашки дифференциала и заднего вала имеются фланцы для крепления карданных валов. От грязи и пыли шарикоподшипники защищены крышками с прокладками и сальниками.
Конструкция подшипникового узла ведущей конической шестерни аналогична конструкции узла главной передачи заднего моста, а подшипниковые узлы ведомых конических (ведущих цилиндрических) шестерен обоих мостов одинаковы.

Рис. 73. Механизм блокировки межосевого дифференциала:
1 — болт; 2 — крышка корпуса; 3 — диафрагма; 4 — стопорное кольцо; 5 — крышка стакана; 6 — стакан штока; 7 — возвратная пружина; 8 — нажимная пружина; 9 — корпус механизма; 10 — шток.
Предварительный натяг подшипников и зацепление в конических шестернях регулируют так же, как и натяг подшипников и зацепление шестерен заднего моста.
Механизм блокировки 16 состоит из зубчатых муфт 19 и 20, штока с вилкой 17, диафрагменной камеры и крана управления .
Зубчатая муфта 19 находится в постоянном зацеплении с зубчатым венцом конической шестерни 22.
При повороте ручки крана управления блокировкой межосевого дифференциала воздух из пневматической системы по трубопроводам поступает в диафрагменную камеру. Диафрагма 3, передвигаясь, сжимает нажимную пружину 5, которая перемещает шток 10 с вилкой и муфту блокировки. Муфта 20, соединяясь шлицами с зубчатым венцом задней чашки дифференциала, блокирует межосевой дифференциал.
Картер главной передачи заднего моста в сборе с колесным дифференциалом и картер главной передачи среднего моста в сборе с колесным и межосевым дифференциалами при установке центрируют посадочным пояском и крепят гайками на шпильках, ввернутых в картер моста.
Полуоси заднего и среднего мостов полностью разгружены. На цапфах, приваренных к торцам картеров мостов, гайками 20, замковыми шайбами 24 и контргайками 25 закреплены ступицы 30, вращающиеся на двух конических роликоподшипниках 18 и 19. К заднему фланцу ступицы прикреплен шпильками тормозной барабан 34, а к наружному фланцу гайками 31, прижимами 32 и проставочным кольцом 33 — ободы задних колес.
Подшипники ступицы защищены от грязи и пыли прокладками 23, установленными под фланцем полуоси, и сальником 16 с лабиринтным уплотнением, смонтированным в расточке задней части ступицы.
Для демонтажа в полуосях предусмотрены резьбовые отверстия под болты съемника. Ступицы мостов и детали их крепления взаимозаменяемы.
В верхней части левого кожуха полуоси установлен сапун 36, сообщающий полость картера моста с атмосферой.
