Опорное устройство а, б служит передней опорой полуприцепа при его расцепке.
Опорное устройство состоит из правой 1 и левой 4 опор, прикрепленных к лонжеронам рамы полуприцепа.

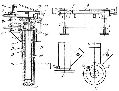
Рис. 153. Опорное устройство полуприцепа:
а — ОдАЗ-9770; б — ОдАЗ-9370;
1 — правая опора; 2 — соединительная муфта; 3 — промежуточный валик; 4 — левая опора; 5 — пята(катки); 6 — крышка; 7 — радиальный подшипник; 8 — ведомая цилиндрическая шестерня; 9 — ведущая цилиндрическая шестерня; 10 — картер; 11 — гайка; 12 — стойка; 13 — пробка; 14 — корпус; 15 — болт направляющий; 16 — винт; 17 — фиксатор; 18 — упорный подшипник; 19 — ведомая коническая шестерня; 20 — ведущая коническая шестерня; 21 — вал.
Основными деталями обеих опор являются крышка 6, ведомая 8 и ведущая 9 цилиндрические шестерни, картер 10, ведомая 19 и ведущая 20 конические шестерни, упорный подшипник 18, катки или пята 5, гайка 11, винт 16, корпус 14, стойка 12.
Гайка 11 и стойка 12 связаны между собой фиксатором 17, а стойка 12 с корпусом 14 — болтом 15, который расположен в корпусе и удерживает стойку от вращения в корпусе.
В отличие от правой опоры 1 в левой опоре коническая шестерня 20 установлена рядом с ведомой цилиндрической шестерней 8.
Валы 21 связаны между собой при помощи промежуточного валика 3 и соединительных муфт 2. Левая и правая опоры для жесткости связаны между собой поперечиной.
